minghungmachinery@gmail.com  +8618769900191 / +86 15589105786

КАТЕГОРИЯ ПРОДУКТА

Случайные товары

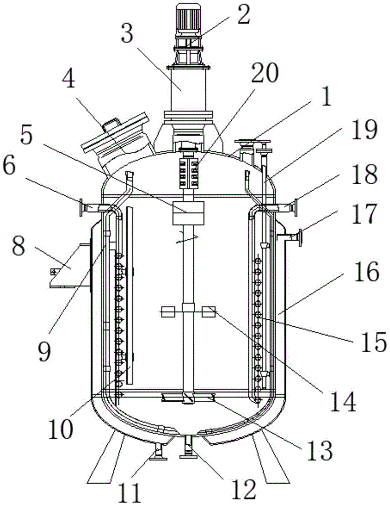
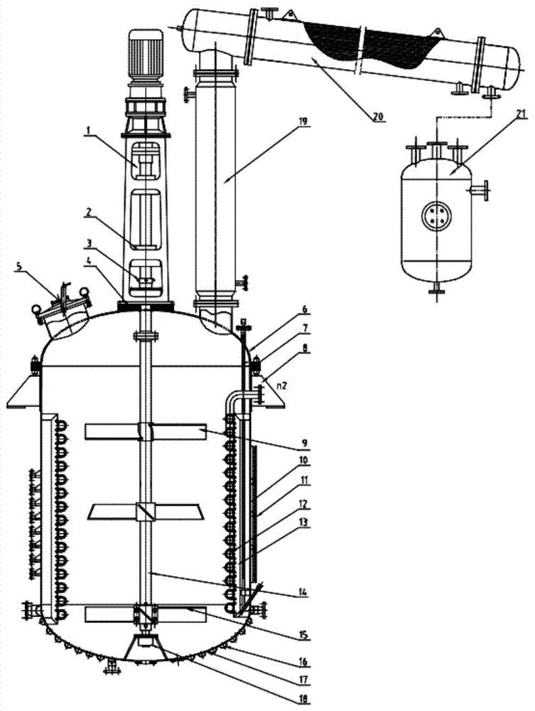
Процесс производства клея

Формула приготовления обычного клея такова.
Пятитонный реактор позволяет производить 6,2-6,3 тонны клея
Формальдегид 3500 кг, мочевина 25 кг, поливиниловый спирт 6,3 кг, водный раствор аммиака 230 кг, температура до 88 градусов Цельсия, держать в тепле в течение 30 минут, отрегулировать значение pH клея до 4,8 и остановить, когда клей готов к крупным частицам чистой воды. , уменьшите давление до 8,5 и добавьте 150 кг химического удобрения, охладите и добавьте 125 кг нитроальдегидного агента, температура достигает 75 градусов по Цельсию, добавьте 125 кг мочевины, сразу опустите до 50 градусов по Цельсию, и производство клея завершено.
штат:
Количество:
sharethis sharing button
  • процесс производства клея

  • MINGHUNG

Формула приготовления обычного клея такова.

Пятитонный реактор позволяет производить 6,2-6,3 тонны клея

Фанерный клеевой реактор

Формальдегид 3500 кг, мочевина 25 кг, поливиниловый спирт 6,3 кг, водный раствор аммиака 230 кг, температура до 88 градусов Цельсия, держать в тепле в течение 30 минут, отрегулировать значение pH клея до 4,8 и остановить, когда клей готов к крупным частицам чистой воды. , уменьшите давление до 8,5 и добавьте 150 кг химического удобрения, охладите и добавьте 125 кг нитроальдегидного агента, температура достигает 75 градусов по Цельсию, добавьте 125 кг мочевины, сразу опустите до 50 градусов по Цельсию, и производство клея завершено.

РеакторКлеевой реактор (4)Клеевой реактор (2)Клеевой реактор (3)


предыдущий: 
следующий: 
Product Inquiry
plywood cold press deliver_副本.jpg
Вторая партия оборудования из Шаньдуна MINGHUNG успешно отправлена
12-26 2025

С приближением Рождества компания Shandong MINGHUNG по производству древесно-стружечных плит Co., Ltd. встретила новый пик поставок.

Читать Далее
1.jpg
9 контейнеров отплыли. Полная линия по производству фанеры компании MINGHUNG успешно отправляется в путь
12-18 2025

В начале декабря 2025 года кульминация тесного сотрудничества внешнеторговой команды MINGHUNG и наших партнеров — 9 контейнеров, полностью загруженных основным оборудованием для линии по производству фанеры.

Читать Далее
MINGHUNG MCHINERY.jpg
Shandong MINGHUNG Деревянная панельная фабрика оборудования
08-05 2020

Шандунг Мингхунг Древесной Машины Фабрики Шандунг Мингхунг Древесной Машины производят фанерные машины в городе Линьи, Китай, посвященный обеспечению высококачественной и подходящей машины винерея, фанерная машина, винера.

Читать Далее
Particleboard paving machine.jpg
Как производить ДСП?Каков этап производства
09-09 2023

Как производить ДСП?Каков производственный этап изготовления ДСП? Введение: ДСП, также известная как ДСП, представляет собой универсальный и экономичный материал, широко используемый в строительной и мебельной промышленности.Он изготавливается путем сжатия древесных частиц и клея.

Читать Далее
auto plywood machine.jpg
Полное руководство по машинам горячего прессования фанеры: изготовление высококачественной фанеры
12-13 2023

Полное руководство по машинам горячего прессования фанеры: изготовление высококачественной фанеры. Введение: Фанера — универсальный и широко используемый материал в различных отраслях промышленности, от строительства до производства мебели.За кулисами машины горячего прессования фанеры играют решающую роль в производственном процессе.

Читать Далее
MINGHUNG plywood complete machine.jpg
Компания Shandong Minghung отправила токарно-очистительный станок и окорочную машину в соответствии с графиком
02-03 2026

Shandong Minghung продолжит заниматься исследованиями, разработками и производством деревообрабатывающего оборудования. Мы стремимся строить долгосрочные, взаимовыгодные партнерские отношения с клиентами по всему миру посредством надежных продуктов, своевременных поставок и профессионального обслуживания.

Читать Далее
MINGHUNG core veneer dryer.jpg
Преимущества сушилки для шпона?
08-13 2022

Что такое сушилка для шпона?MINGHUNG Роликовая сушилка для шпона предназначена для сушки оригинального деревянного шпона, удаления избыточной влаги, в конечном итоге влажность деревянного шпона будет составлять 5-10%, поэтому она подходит для изготовления фанеры. Валковые сушилки для шпона подходят для большой производительности сушки в день, они могут быть разной длины и ширины.

Читать Далее
MINGHUNG plywood complete machine.jpg
Древесное сырье для производства ДСП
01-28 2026

ДСП (также известная как ДСП) — это обычная деревянная панель, изготовленная путем смешивания древесных фрагментов или частиц с клеем (например, мочевиноформальдегидной смолой) и последующего горячего прессования для придания им формы.

Читать Далее
plywood sanding machine.jpg
Высокопроизводительная шлифовальная машина для фанеры успешно отправлена ​​в Россию
11-08 2025

Недавно в порт Циндао был подготовлен к отправке высокопроизводительный шлифовальный станок для фанеры, готовый отправиться к нашему ценному партнеру в России.

Читать Далее
veneer lathe.jpg
Shandong Minghung успешно завершает и отправляет финальную партию фанерного оборудования на август
08-28 2025

Эта партия не только демонстрирует сильную производственную координацию Minghung Machinery и возможности выполнения международной торговли, но и обеспечивает быстрое ввод в эксплуатацию производственной линии клиента.

Читать Далее
Shandong MINGHUNG Wood Machinery Co.,Ltd — один из известных производителей фанерных станков в Китае, расположенный в городе Линьи.
Дом

СВЯЗАТЬСЯ С НАМИ

+86-18769900191 / +86-15589105786
+86-18769900191 / +86-15589105786
minghungmachinery@gmail.com
Город Фанчэн, район Ланьшань, город Линьи, провинция Шаньдун, Китай
Авторские права © 2010 SHANDONG MINGHUNG WOOD MACHINERY CO.,LTD